| Productivity, m3 / h | 1900 |
|---|---|
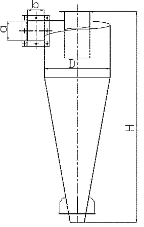
| Height mm | 1860 |
| Diameter, mm | 600 |
| Working pressure (max.), Pa: | н/д |
| Optimal speed, m/s | 4,0 |
| Weight, kg | 55 |
OTI-600
OTI-600
Cyclone dust collector
Purpose of OTI-600 cyclones
Cyclones OTI-600 are used in pneumatic conveying systems for mechanical separation of grain waste mixtures, including grain dust. They are widely and effectively used in various food and grain-processing enterprises.
It is not recommended to use these dust collector cyclones to remove fibrous and sticky dusts.
Advantages of OTI-600 cyclones
Cyclones OTI-600 are characterized by a fairly high efficiency of cleaning air masses from grain dust and other types of grain waste. Depending on the size and nature of the polluting particles the cleaning efficiency is 97-98%. One of the main advantages of OTI-600 cyclones for the grain dust is tolerance to the variations of velocity of air flows at the inlet of the devices. The optimum value of velocity is the value from 10 to 14 m/s. In this case the resistance of the dust collector to fluctuations in the air flow rate is equal to ±35%. This factor is very important for systems that operate in variable mode. These values contribute to highly efficient operation of industrial dust collection equipment of OTI type.
Design and installation of OTI-600 cyclones
These units are characterized by a fairly simple and reliable design, the principle of their operation is mechanical. Cyclones OTI-600, being a part of pneumatic conveying systems, are installed in groups of two to eight units to significantly increase the dust collection coefficient. It is the group use of air cleaners of this model that guarantees excellent results of air mass cleaning in industry.
Hopper of group cyclones OTI-600
The hopper is a very important component for highly productive operation of the OTI-600 battery cyclone. It is designed for accumulation and temporary storage of dust. The period of dust storage in the hopper depends on the cyclone model, as well as on the dimensions of the hopper itself, which are calculated before the order execution depending on the customer's wishes - with what frequency the dust is planned to be unloaded.
Main characteristics of OTI-600 cyclones
|
Model |
Productivity, m3/h |
Size, mm |
Weight, kg |
||
|
D |
H |
aхb |
|||
| ОТІ-600 | 1900 | 600 | 1860 | 270x135 | 55 |
The price of the battery cyclone OTI-600 is given without the cost of the hopper, pedestal and dust gate (the cost is calculated separately).
If you want to buy cyclone-dust collector OTI-600 at the lowest price, you can contact our managers in the most convenient way for you. It is also possible to place an online order directly on the site. We have an individual system of discounts for regular customers or when placing a large order. The company regularly announces special prices on popular products that are in stock. If you need advice on purchasing or selecting products, or you are interested in the full price list, our managers will be happy to help you. Price of cyclone dust collector OTI-600 in our store is almost always below average. We do our best to provide our customers with the highest quality goods and service for a reasonable price.
Dimensions
DIMENSIONS OF OTI-600
Overall dimensions are approximate. Photos are for reference only.
Due to the constant modernization, for accurate data, please contact the managers.

| Model | Overall dimensions, mm | |||
| D | H | a | b | |
| ОТІ-600 | 600 | 1860 | 270 | 135 |



Reviews
There are no reviews yet.