| Productivity, m3 / h | 18100 |
|---|---|
| Height mm | 5280 |
| Diameter, mm | 1600 |
| Max. transported air temperature, °C | 250 |
| Air purification efficiency, %: | до 97 |
| Air flow speed, m/s | 10-17 |
| Working pressure (max.), Pa: | 1700 |
| Weight, kg | 626 |
SK-CN-34M-1600
SK-CN-34M-1600
Cyclone dust collector
General information about cyclone SK-CN-34M-1600
Cyclones of SK-CN-34 type were developed in 1969 by a team of engineers from NIIOGAZ Institute specifically for capturing solid dust particles generated in auxiliary systems of carbon black production as well as after operation of reactors. Cyclones SK-CN-34M belong to the type of conical cyclones designed for purification of soot-air and soot-gas mixtures from particles of solid fraction in pneumatic conveying systems, as well as in aspiration and pneumatic cleaning systems of carbon black production, also called soot.
These cleaning machines effectively separate particles transported by pipelines (material pipelines) with increased abrasiveness and increased adhesion coefficient. Compressed gases, including air and gas-air mixtures, are the working body of movement in this process. Cyclones SK-CN-34M are purifiers of gas coolants at hydrolysis plants, which are installed after spray dryers in yeast production.
Application of Cyclone SK-CN-34M-1600
The scope of application of the cyclone-type air purification unit is ventilation. Cyclones SK-CN-34M have the highest degree of purification among other models of conic cyclones. But, at the same time, these dust collectors are characterized by the highest coefficient of resistance of all cyclones of conical type, which have a volute swirler. This dust collector is designed for use in butane dehydrogenation, catalytic cracking of petroleum products, and carbon black production. Carbon black plants are continuous in-line industrial production facilities, allowing maximum automation of all kinds of technological processes, up to the creation of automatic plants. Application of cyclones at such facilities is especially relevant.
Also these cyclones are indispensable and highly effective units in the areas, which need to capture abrasive or sticky dust. Cyclones SK-CN-34M, being used to remove dusts with high abrasiveness or high stickiness of particles, have approximately twice higher pressure loss than cyclones SK-CN-34 and SDK-CN-33. But at the same time the conical model SK-CN-34M provides the highest dust collection efficiency when working with extreme types of contaminating particles.
Technical data of cyclone SK-CN-34M-1600
The permissible dust content of the gas cleaned by the cyclone without damage to the unit is 1000 g/m3. Such data guarantee efficient purification in the end. The gas temperature should not exceed 2500C, and the recommended gas velocity at the inlet to the dust collector is 10 to 17 m/s, and the maximum pressure is 1700 Pa. If all these conditions are taken into account, the maximum dust purification efficiency (d=10 μm, density 2.7 g/cm3) can reach 97%.
Design of cyclone SK-CN-34M-1600
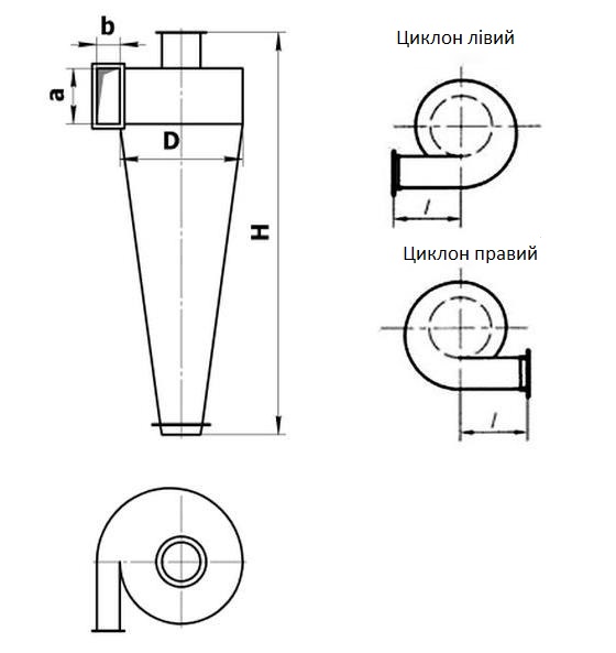
Structurally, cyclone for air purification SK-CN-34M is designed both for "left-hand" and "right-hand" rotation of gas flows. If you look from the side of the exhaust pipe, clockwise rotation of gas flows in the dust collector is considered "right", and "left", respectively, rotation counterclockwise. Conical units, having the same capacity as cylindrical dust collectors, but differing from the latter in essential overall dimensions, are often not used in group execution. Conical units for dust cleaning are distinguished by a spiral inlet pipe and a more elongated conical part of the casing. The cyclones are necessarily insulated at the place of installation, special devices for fixing thermal insulation are provided on the units.
Cyclone hopper SK-CN-34M-1600
The dust accumulating hopper of the cyclone is placed at the bottom of the unit and provides accumulation of dust masses. For quality operation of the cleaning equipment it is necessary to clean them from time to time, this periodicity depends on the model and the size of the hopper respectively: the larger the accumulator, the less frequent the cleaning and vice versa. Overfilling the unit with dust significantly reduces the overall performance of the unit, its operating life and can even put the dust collector out of operation. The size and shape of the hopper is calculated by the customer based on the anticipated cleaning period. To make the initial cyclone calculation, use the technical data below.
Main characteristics of cyclone SK-CN-34M-1600
|
Model |
Productivity, m3/h |
Size, mm |
Weight, kg |
||
|
D |
H |
a x b |
|||
| SK-CN-34M-1600 | 18100 | 1600 | 5280 | 640x288 | 626 |
If you want to buy cyclone dust collector SK-CN-34M-1600 at minimum price, you can contact our managers in the most convenient way for you. It is also possible to place an online order directly on the site. We have an individual system of discounts for regular customers or when placing a large order. The company regularly announces special prices on popular products that are in stock. If you need advice on purchasing or selecting products, or you are interested in the full price list, our managers will be happy to help you. Price of cyclone dust collector SK-CN-34M-1600 in our store is almost always below average. We do our best to provide our customers with the highest quality goods and service at a reasonable price.
Dimensions
DIMENSIONS OF SK-CN-34M-1600
Overall dimensions are approximate. Photos are for reference only.
Due to the constant modernization, for accurate data, please contact the managers.

| Model | Overall dimensions, mm | ||||||||
| D | H | a | b | ||||||
| SK-CN-34M-1600 | 1600 | 5280 | 640 | 288 | |||||


Reviews
There are no reviews yet.