OEKDM K-30

ID 23395  In stock
Choose another ›
ID 23395  In stock
Produc­tivity, m3 / h 22150-28500
Height mm 9160
Diameter, mm 3000
Working pressure (max.), Pa: 944
Weight, kg 1650

OEKDM K-30

Cyclone dust collector

Purpose of cyclones OEKDM K-30

Cyclones OEKDM K-30 are widely used for air cleaning in woodworking industry and designed for aspiration and pneumatic conveying systems of chopped wood: chips, shavings, sawdust, including wet. In the presence of a volumetric hopper used as a place of storage of sawdust for the working shift of the woodworking shop or as a warehouse for its own boiler plant. The degree of air purification in cyclones OEKDM K-30 when working on shavings and sawdust is 88% - 95%.

Construction of cyclones OEKDM K-30

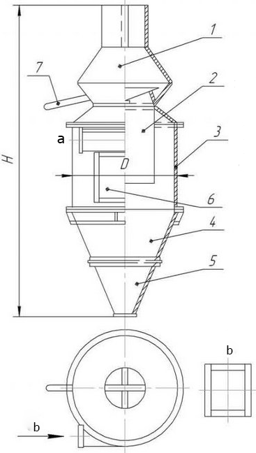
The cyclone is installed outside the room. From it there is a common pipe that connects the cyclone with the woodworking shop. From this pipe inside the room there are branches connecting it with the machines. The sawdust falls into the extractor and through these branches enters the general pipe, and from there directly into the cyclone and settles in the hopper. The cyclone itself operates on the basis of centrifugal force and performs extraction by twisting the air flow.

The peculiarity of cyclone OEKDM K-30 is its ability to produce wet and wet shavings extraction, for which purpose the upper cyclone body is equipped with a precipitation collector with a discharge pipe and a cup. The sediment collector accumulates moisture, which is collected from the upper housing and discharged through the discharge tube. The glass provides a high degree of filtration and separates moisture flows inside the cyclone OEKDM K.

Cyclone OEKDM K-30 is made of stainless black metal. The seams are continuous welded. Inlet and outlet spigots have flanges, by means of which connection with air ducts is performed. Cyclones are made of right and left execution. Optimal operation mode of K-type cyclones (OEKDM) is in the range of air velocity in the inlet spigot from 14 to 18 m/s.

Installation of cyclones OEKDM K-30

Cyclone OEKDM K-30 is used in combination with a fan. The fan is installed in the system both upstream and downstream of the cyclone. Dust fans are placed before the cyclone, they can pass any volumes and fractions of shavings. It is reasonable to mount a fan after the cyclone only if there is air spinning on the cyclone.

Main characteristics of OEKDM cyclones K-30

Model

Productivity, m3/h

Size, mm

Weight, kg

D

H

aхb

OEKDM К-30 22150-28500 3000 9160 760x508 1650

The price of cyclone OEKDM K-30 is given without the cost of hopper, pedestal and dust gate (the cost is calculated separately).

If you want to buy cyclone dust collector OEKDM K-30 at the lowest price, you can contact our managers in the most convenient way for you. It is also possible to place an online order directly on the site. We have an individual system of discounts for regular customers or when placing a large order. The company regularly announces special prices on popular products that are in stock. If you need advice on purchasing or selecting products, or you are interested in the full price list, our managers will be happy to help you. Price of cyclone dust collector OEKDM K-30 in our store is almost always below average. We do our best to provide our customers with the highest quality goods and service for a reasonable price.

Dimensions

DIMENSIONS OF OEKDM K-30

Overall dimensions are approximate. Photos are for reference only.
Due to the constant modernization, for accurate data, please contact the managers.

ciklon_oekdm_k_gab

Model Overall dimensions, mm
D H aхb
OEKDM К-30 3000 9160 760х508

Reviews

There are no reviews yet.

Be the first to review “OEKDM K-30”

Your email address will not be published. Required fields are marked *